Наука
Крупный план 175-W ртутной газоразрядной лампы пара {W}.

Крупный план 175-W ртутной газоразрядной лампы пара {W}.

Ртутная газорязрядная лампа или газовая лампа разгрузки — электрический источник света, у которой для генерации оптического излучения света используется газовый разряд в парах ртути.

Разгрузка дуги вообще ограничена маленьким сплавленным кварцом трубы дуги, возвышающейся в пределах большей луковицы (колбы) на базе боросиликатного стекла. Внешняя колба может быть прозрачной или покрытой фосфором; в любом случае она обеспечивает тепловую изоляцию, защиту от ультрафиолетовой радиации, и удобную установку для сплавленной кварцевой дуговой трубки.

Ртутные газоразрядные лампы (и их родственники) в настоящее время часто используются, потому что они относительно эффективны. Покрытие фосфором (эффективный) обеспечивает лучшее цветное исполнение применения в колбах, а как более более яркие — ламры изготавливаются с паром натрия низкого давления. Ртутные лампы с насыщением различных газов обеспечивают большой срок эксплуатации при интенсивном освещении для целого ряда специальных областей.[1]

Виды[]

Ртутные лампы высокого давления[]

(Дуговая Ртутная Люминофорная)

Лампа ДРЛ 250 на самодельном испытательном стенде

Лампа ДРЛ 250 на самодельном испытательном стенде

Находят широкое применение для общего освещения цехов, улиц, промышленных предприятий и других объектов. Лампы РЛВД типа ДРЛ применяются в силу того, что к ним не предъявляющих высоких требований к качеству цветопередачи.

ДРЛ (Дуговая Ртутная Люминофорная) принята в отечественной светотехнике с обозначением РЛВД, у которой для исправления цветности светового потока, направленного на улучшение цветопередачи, используется излучение люминофора, нанесённого на внутреннюю поверхность колбы.

Устройство[]

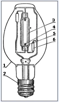
Устройство лампы ДРЛ: 1.Колба;2.Цоколь;3.Горелка;4.Основной электрод;5.Поджигающий электрод;6

Устройство лампы ДРЛ: 1.Колба;2.Цоколь;3.Горелка;4.Основной электрод;5.Поджигающий электрод;6.Токоограничительный резистор

Первые лампы ДРЛ были двухэлектродными. Для зажигания таких ламп требовался источник высоковольтных импульсов. В качестве него применялось устройство ПУРЛ-220 (Пусковое Устройство Ртутных Ламп на напряжение 220 В). В 1970-х гг. промышленность постепенно прекратила выпуск двухэлектродных ламп. На смену им пришли четырёхэлектродные, не требующие внешних зажигающих Пусковое Устройство Ртутных Ламп на напряжение 220 В.

Для согласования электрических параметров лампы и источника электропитания практически все виды РЛ, имеющие падающую внешнюю вольт-амперную характеристику, нуждаются в использовании пускорегулирующего аппарата, в качестве которого в большинстве случаев используется дроссель, включенный последовательно с лампой.

Четырёхэлектродная лампа ДРЛ (смотри рисунок справа) состоит из внешней стеклянной колбы 1, снабжённой резьбовым цоколем 2. На ножке лампы смонтирована установленная на геометрической оси внешней колбы кварцевая горелка (разрядная трубка, РТ) 3, наполненная аргоном с добавкой ртути. Четырёхэлектродные лампы имеют основные электроды 4 и расположенные рядом с ними вспомогательные(зажигающие) электроды 5. Каждый зажигающий электрод соединён с находящимся в противоположном конце РТ основным электродом через токоограничивающее сопротивление 6. Вспомогательные электроды облегчают зажигание лампы и делают её работу в период пуска более стабильной.

Принцип действия[]

Горелка (РТ) лампы изготавливается из тугоплавкого и химически стойкого прозрачного материала (кварцевого стекла или специальной керамики) и наполняется строго дозированными порциями инертных газов. Кроме того в горелку вводится металлическая ртуть, которая в холодной лампе имеет вид компактного шарика или оседает в виде налёта на стенках колбы и (или) электродах. Светящимся телом РЛВД является столб дугового электрического разряда.

Лампа ДРЛ400 в домашних условиях

Лампа ДРЛ400 в домашних условиях

Процесс зажигания лампы с зажигающими электрод: подаётся на лампу питающее напряжение, между близко расположенными основным и зажигающим электродом возникает тлеющий разряд из-за малого расстояния между ними, которое существенно меньше расстояния между основными электродами, поэтому ниже и напряжение пробоя этого промежутка. Возникновение в полости РТ достаточно большого числа носителей заряда (свободных электронов и положительных ионов) трансформирует пробой промежутка между основными электродами и зажигание между ними тлеющего разряда, который мгновенно переходит в дуговой.

Стабилизация электрических и световых параметров лампы наступает через ~12 минут после включения. В течение этого времени ток лампы значительно превосходит номинальный и ограничивается только сопротивлением пускорегулирующего аппарата. Продолжительность пускового режима весьма зависит от температуры окружающей среды. Более холодная среда замедляет разгрев лампа и удлиняет время запуска.

Видимый  ртутной лампы

Видимый спектр ртутной лампы

Электрический разряд в горелке ртутной дуговой лампы создаёт видимое излучение также начиная с зоны сине-фиолетового спектра (но не только белого) цвета, а также мощное ультрафиолетовое излучение. Последнее возбуждает свечение люминофора, нанесённого на внутренней стенке внешней колбы лампы. Красноватое свечение люминофора, смешиваясь с бело-зеленоватым излучением горелки, даёт яркий свет, близкий к белому.

Изменение напряжения питающей сети в большую или меньшую сторону вызывает соответствующее изменение светового потока. Отклонение питающего напряжения на 10 - 15% допустимо и сопровождается изменением светового потока лампы на 25 - 30%. При уменьшении напряжения питания менее 80% номинального лампа может не зажечься, а горящая - погаснуть.

При горении лампа сильно нагревается. Это требует использования в световых приборах с дуговыми ртутными лампами термостойких проводов, предъявляет серьёзные требования к качеству контактов патронов. Поскольку давление в горелке горячей лампы существенно возрастает, увеличивается и напряжение её пробоя. Величина напряжения питающей сети оказывается недостаточной для зажигания горячей лампы. Поэтому перед повторным зажиганием лампа должна остыть. Этот эффект является существенным недостатком дуговых ртутных ламп высокого давления, поскольку даже весьма кратковременный перерыв электропитания гасит их, а для повторного зажигания требуется длительная пауза на остывание.

Области применения ламп ДРЛ[]

Лампы ДРЛ в настоящее время вытесняют лампы НЛВД и находят широкое прменение при освещении городов, больших строительных площадок, высоких производственных цехов и др..

Дуговые ртутные лампы[]

Лама ДРИ

Лама ДРИ

Лампы ДРИ (Дуговая Ртутная с Излучающими металлическими добавками) конструктивно схожа с ДРЛ, однако в её горелку дополнительно вводятся строго дозированные порции специальных добавок - галогенидов некоторых металлов (натрия, таллия, индия и др.), за счёт чего значительно увеличивается световая отдача (порядка 70 — 95 лм/Вт и выше) при достаточно хорошей цветности излучения. Лампы имеют колбы эллипсоидной и цилиндрической формы, внутри которой размещается кварцевая или керамическая горелка. Срок службы — до 8 - 10 тыс. ч.

В современных лампах ДРИ используются в основном керамические горелки, обладающие большей стойкостью к реакциям с их функциональным веществом, благодаря чему со временем горелки затемняются гораздо меньше кварцевых. Однако последние тоже не снимают с производства из-за их относительной дешевизны.

Ещё одно отличие современных ДРИ — шаровидная форма горелки, позволяющая снизить спад светоотдачи, стабилизировать ряд параметров и увеличить яркость «точечного» источника. Различают два основных исполнения данных ламп: с цоколями Е27, Е40 и софитное — с цоколями типа Rx7S и подобными им.

Для зажигания ламп ДРИ необходим пробой межэлектродного пространства импульсом высокого напряжения. В «традиционных» схемах включения данных паросветных ламп, помимо индуктивного балластного дросселя, используют импульсное зажигающее устройство — ИЗУ.

Изменяя состав примесей в лампах ДРИ, можно добиться «монохроматических» свечений различных цветов (фиолетового, зелёного и тп) Благодаря этому ДРИ широко используются для архитектурной подсветки. Лампы ДРИ с индексом "12" (с зеленоватым оттенком) используют на рыболовецких судах для привлечения планктона.

Дуговые ртутные металлогалогенные лампы с зеркальным слоем (ДРИЗ)[]

Представляет собой обычную лампу ДРИ, часть колбы которой изнутри частично покрыта зеркальным отражающим слоем, благодаря чему такая лампа создает направленный поток света. По сравнению с применением обычной лампы ДРИ и зеркального прожектора, уменьшаются потери за счет уменьшения переотражений и прохождений света через колбу лампы. Так же получается высокая точность фокусировки горелки. Для того, чтобы после вворачивания лампы в патрон направление излучения её можно было изменить, лампы ДРИЗ снабжают специальным цоколем.

Ртутно-кварцевые шаровые лампы (ДРШ)[]

Лампы ДРШ представляют собой дуговые ртутные лампы сверхвысокого давления с естественным охлаждением. Имеют шарообразную форму и дают сильное ультрафиолетовое излучение.

Ртутно-кварцевые лампы высокого давления (ПРК, ДРТ)[]

Дуговые ртутные лампы высокого давления типа ДРТ (Дуговые Ртутные Трубчатые) представляют собой цилиндрическую кварцевую колбу с впаянными по концам электродами. Колба наполняется дозированным количеством аргона, помимо того в неё вводится металлическая ртуть. Конструктивно лампы ДРТ очень схожи с горелками ДРЛ, а электрические параметры их таковы, что позволяют использовать для включения пускорегулирующие аппараты ДРЛ соответствующей мощности. Однако большинство ламп ДРТ выполняется в двухэлектродном исполнении, поэтому для их зажигания требуется использование специальных дополнительных устройств.

Первые разработки ламп ДРТ, носивших первоначальное название ПРК (Прямая Ртутно-Кварцевая), были выполнены Московским электроламповым заводом в 1950-х гг. В связи с изменением нормативно-технической документации в 1980-х гг. обозначение ПРК было заменено на ДРТ.

Существующая номенклатура ламп ДРТ имеет широкий диапазон мощностей (от 100 до 12000 Вт). Лампы используются в медицинской аппаратуре (ультрафиолетовые бактерицидные и эритемные облучатели), для обеззараживания воздуха, пищевых продуктов, воды, для фотополимеризации лаков и красок, экспонирования фоторезистов и иных фотофизических и фотохимических технологических процессов. Лампы мощностью 400 и 1000 Вт применялись в театральной практике для освещения декораций и костюмов, расписанных флуоресцентными красками. В этом случае осветительные приборы оснащались светофильтрами из ультрафиолетового стекла УФС-6, срезающими жёсткое ультрафиолетовое и практически всё видимое излучение ламп.

Важным недостатком ламп ДРТ является интенсивное образование озона в процессе их горения. Если для бактерицидных установок это явление обычно оказывается полезным, то в других случаях концентрация озона вблизи светового прибора может существенно превышать допустимую по санитарным нормам. Поэтому помещения, в которых используются лампы ДРТ, должны иметь соответствующую вентиляцию, обеспечивающую удаление избытка озона.

В небольших количествах изготавливаются безозонные лампы ДРТ, колба которых имеет внешнее покрытие из кварца, легированного диоксидом титана. Такое покрытие практически не пропускает озонообразующую линию резонансного излучения ртути 253,7 нм.

См. также[]

Ссылки[]

Лампы и освещение
Накаливания Лампа накаливанияГалогенная лампа
Флуоресцентные Люминесцентная лампа (Компактная люминесцентная лампа) • Индукционная лампаРтутная люминесцентная лампаЛампа чёрного света
Газоразрядные Лампы высокой интенсивностиНеоновая лампаНатриевая газоразрядная лампаКсеноновая лампа-вспышкаГазосветные лампы
Электродуговые Дуговая лампаКсеноновая дуговая лампаCвеча ЯблочковаМеталлогалогенная лампа
На сгорании Ацетиленовые лампыСвечиГазовая лампаКеросиновая лампаДруммондов светМасляные лампыЛучинаФакел
Прочие Серная лампаСветодиоды (Светодиодная лампаОрганический светодиод)
Люминесценции ХемилюминесценцияБиолюминесценцияРадиолюминесценцияСонолюминесценция
Осветительное
оформление
ПрожекторЛюстраТоршерБраЛампочка ИльичаMR16Фонарь (УличныйКарманный) • Взрывобезопасная лампаПлазменная лампаЭлектролюминесцентный проводЛавовая лампаОптическое волокно